Thông số kỹ thuật

Mô hình YM

YM005021

Thương hiệu bộ lọc gốc

Thợ săn DOMNICK

Mô hình gốc

K003-AA

Độ chính xác / Lượng dầu còn lại

0,01 μm /0,01 ppm  

Khả năng xử lý

0,18  Nm³/phút

Nhiệt độ làm việc 

1,5~ 80

Áp suất làm việc

0,1 ~ 2,0Mpa

Phương tiện truyền thông

Sợi thủy tinh siêu nhỏ

Nắp cuối

Nhựa kỹ thuật

Niêm phong

Buna-N

W tám (bao gồm cả bao bì)

0,1kg

Kích thước đóng gói ( cm )

11*6*6 62#

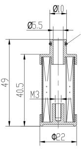
Kích thước (mm )

D


H




22±1


49 ± 2



Nước xuất xứ  / Mã HTS

TRUNG QUỐC  / 8421999090

Ghi chú

Vui lòng tham khảo nhân viên bán hàng Yuanmei cho bất kỳ khu vực còn lại nào


Hình ảnh Gói

hình ảnh.png

TIN NHẮN

Sau khi gửi thông tin, một kỹ sư sẽ liên lạc với bạn

Khuyến khích
Không có dữ liệu
Giải pháp liên quan
    Không có dữ liệu